南海新增超200个“电子眼”!专拍这些开车违规行为……
@各位车主,
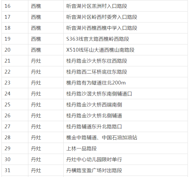
南海这些地方增设一批交通“电子警察”,
主要针对闯红灯、违停、
驾驶时通电话、未系安全带等不安全行为,
各位司机朋友请勿任性了!
该批新增的电子监控设备
将于2020年12月20日开始
对交通违法行为进行执法取证。
马路如虎口!
记住这些典型不安全行为
千万别做↓↓
典型交通违法行为1:闯红灯
根据相关法律法规,驾驶机动车违反道路交通信号灯通行的记6分,罚款200元。
典型交通违法行为2:违停
一旦车辆违停,你或将面对以下三种后果:
1.机动车违反禁止停车线标志、禁止长时停车标志或禁止停车线指示的,罚款200元。
2.机动车违反规定停放、临时停车,妨碍其它车辆、行人通行的,罚款200元。
3.机动车违反规定停放、临时停车且驾驶人不在现场或驾驶人虽在现场拒绝立即驶离,妨碍其它车辆、行人通行的,拖移机动车。
典型交通违法行为3:逆行
根据相关法律法规,机动车逆向行驶的记3分,罚款200元。
典型交通违法行为4:通电话
驾驶机动车时拨打、接听手持电话,将面临记2分;处警告或者20元以上200元以下罚款。
请广大车主和驾驶员
自觉遵守交通法规,
养成良好的文明交通出行习惯,
共同营造安全、和谐、畅通的
道路交通环境。
2020年最后一个月,一批新规即将实施,事关出行、医疗、购物等,一起来看看有哪些?
佛山
2021年度“平安佛医保”投保进行中
11月26日,2021年度“平安佛医保”参保工作正式启动。投保时间为2020年11月26日-12月31日。佛山市基本医疗保险参保人可参保。
佛山“一照通”实施范围扩大
佛山将于2020年12月1日起在全市范围内扩大“一照通”实施范围,预计将为每户市场主体平均节约办事时间10天,进一步提升企业开办效率,激发市场活力。
谢叠大桥西桥桥底掉头车道
实施单向通行
自2020年12月15日零时起,谢叠大桥西桥桥底掉头车道只允许逆时针行驶方向行驶,即只允许从汾江北路往大沥谢边方向行驶,禁止从大沥谢边往汾江北路方向行驶。
南海新增超200个“电子眼”
南海新增超200个电子监控设备,覆盖7个镇街多个主要路段。主要针对闯红灯、违停、驾驶时通电话、未系安全带等不安全行为。
该批“电子眼”,将于2020年12月20日开始对交通违法行为进行执法取证。
全国
《出口管制法》正式生效
《出口管制法》12月1日起正式施行,明确出口经营者有下列行为之一的,责令停止违法行为,没收违法所得,违法经营额五十万元以上的,并处违法经营额五倍以上十倍以下罚款;没有违法经营额或者违法经营额不足五十万元的,并处五十万元以上五百万元以下罚款;情节严重的,责令停业整顿,直至吊销相关管制物项出口经营资格:未经许可擅自出口管制物项;超出出口许可证件规定的许可范围出口管制物项;出口禁止出口的管制物项。
《经营者集中审查暂行规定》实施
《经营者集中审查暂行规定》12月1日起施行。其中明确,国家市场监督管理总局负责经营者集中反垄断审查工作,并对违法实施的经营者集中进行调查处理。市场监管总局根据工作需要,可以委托省、自治区、直辖市市场监管部门实施经营者集中审查。
科技奖励改为“提名制”
国务院公布修订后的《国家科学技术奖励条例》12月1日起施行。《条例》修订落实了科技奖励由“推荐制”调整为“提名制”的改革要求;加强科技奖励诚信体系建设,明确评审专家需具有较高的学术水平和良好的科学道德,在科技活动中违反伦理道德或者有科研不端行为的个人、组织不得被提名或者授予国家科学技术奖,建立科研诚信严重失信行为数据库,禁止使用国家科学技术奖名义牟取不正当利益。
促销不得先提价再折价
《规范促销行为暂行规定》12月1日起施行,其中明确规定:
经营者折价、减价,应当标明或者通过其他方便消费者认知的方式表明折价、减价的基准;未标明或者表明基准的,其折价、减价应当以同一经营者在同一经营场所内,在本次促销活动前七日内最低成交价格为基准。如果前七日内没有交易的,折价、减价应当以本次促销活动前最后一次交易价格为基准;抽奖式有奖销售最高奖的金额不得超过五万元。
药品信息要真实准确完整
《药品记录与数据管理要求(试行)》12月1日起正式实施,其中对药品研制、生产、经营、使用活动的记录与数据管理提出原则性要求,突出重点,结合产业实际,更好地保证药品全生命周期全过程信息真实、准确、完整和可追溯。
《中国药典》新增品种319种
国家药品监督管理局、国家卫生健康委发布公告,正式颁布2020年版《中华人民共和国药典》,自12月30日起实施。新版《中国药典》新增品种319种,修订3177种,不再收载10种,品种调整合并4种,共收载品种5911种。
高铁浮动票价来了
12月23日起,京沪高铁公司将对京沪高铁运行时速300-350公里的高铁动车组列车公布票价进行优化调整,将根据客流情况,区分季节、时段、席别、区段等,建立灵活定价机制,实行优质优价,有升有降。
京沪间二等座初期最低票价498元、降幅10%,最高票价598元、涨幅8%。
市场调节价航线新增370条
日前印发的《关于进一步深化民航国内航线运输价格改革有关问题的通知》规定,自12月1日起,3家以上(含3家)航空运输企业参与运营的国内航线,国内运价实行市场调节价,由航空运输企业依法自主制定。
本次实行市场调节价的国内航线共370条,主要集中在二、三线城市之间的往返航线,涉及北上广深等一线城市出发的航线较少。加上此前已施行市场调节价的1328条航线,国内已累计有1698条航线实现了市场化定价。
2020年即将结束,
你的小目标实现了吗?
上周五,三水区纪委监委向爆料群众李某(化名)发放悬赏奖金20万元。11月2日,根据李某的线索,三水区纪委监委成功抓捕了外逃18年的金融领域犯罪嫌疑人钟耀东。这是全市首例通过悬赏成功抓捕归案的追逃案例,也是三水区纪委监委追逃防逃追赃工作的一大战果。近年来,三水区纪委监委在总结经验的基础上不断探索新打法、推出新举措,因人因案施策,精准对症下药,对外逃人员坚决一追到底,追逃防逃追赃工作成效不断显现,反腐败的天网越织越密。
一个月内兑现承诺 奖励热心群众20万元
11月1日,李某在芦苞镇街市上偶遇钟耀东,觉得此人十分眼熟,心里起疑。她回想起了2017年~2018年曾在芦苞独树岗市场见过有关钟耀东的悬赏通告。“他应该接受法律的制裁。”心怀正义感的李某在家纠结了一天后,辗转联系上区纪委监委办案人员,向办案人员提供了钟耀东的行踪线索。
根据李某的线索,区纪委监委迅速行动,成功抓捕在逃人员钟耀东。目前,三水区纪委监委已对钟耀东采取留置措施。
钟耀东是三水区唯一的中央纪委国家监委在册外逃人员,其原为中国农业银行三水市六和分理处会计。1996年1月至2002年2月,钟耀东利用职务之便,多次套取银行账户资金用于赌博,涉嫌贪污金额巨大。2002年3月,钟耀东畏罪潜逃,至今长达18年。
该起案件成为全市第一例以悬赏方式成功抓捕归案的案件。11月27日,三水区纪委监委加快兑现悬赏通告承诺,向热心的李某奖励了20万元,感谢其提供有效的线索。区纪委监委对热心群众的身份信息严格保密,并专人专车接送举报群众,帮助其到银行存储奖金。
“区纪委监委向社会广泛发布悬赏公告,使广大群众成为追逃一线的‘哨兵’。”区纪委常委杨柳表示,区纪委监委通过举办悬赏奖金兑现发放仪式,向社会释放有承诺必兑现的信号,发动更多群众参与、支持追逃工作,营造全民追逃的浓厚氛围。
境内外布下天网 潜逃者无处可藏
国家监察体制改革后,纪检监察机关成为职务犯罪追逃追赃案件的主办机关。自上级下达追逃任务以来,三水区纪委监委认真贯彻落实中央、省、市关于追逃追赃工作部署,以“钉钉子”的精神迎难而上,紧盯个案,精准追逃。
随着区监委成立,区检察院将钟耀东案件移交至区纪委监委办理。三水区纪委监委与检察、公安等部门密切配合,第一时间抽调了纪委、公安、检察院等部门业务素质高、工作能力强的人员组建追逃专班,谋划部署追逃的各项工作。
面对该案十几年未能取得实质性突破的困境,追逃专班全面排查有关信息,系统梳理案卷研究案情,积极配合上级部门收集各方信息,重点彻查钟耀东的亲属关系和社会关系,开展研判分析,以求从中排查出有价值的线索。
“天网恢恢,外逃人员绝不会有漏网的侥幸。”追逃专班负责人曾军说,不管花多大代价,不放过任何疑点,哪怕是捕风捉影,也要一查到底。
追逃专班一一排查了有关钟耀东行踪的可疑线索,先后多次前往湖南、江西、广西等地调查,同时根据情报反映钟耀东有曲线逃窜出境越南的嫌疑,借助国际协查协助机制和越南警方力量,在越南境内开展搜寻行动,国内外同向发力,布下严密天网。
另一方面,由于十多年未有钟耀东的音讯,追逃专班因案施策,动态调整策略,制作了悬赏通告,明确表示凡提供有价值的线索者最高可获人民币20万元奖励,并利用国内电视、网络、报刊以及微信公众号等宣传载体,以及到越南各大赌场、华人聚集地,广泛发布追逃通告。
11月2日,热心群众向追逃专班反映钟耀东潜逃回芦苞镇亲属家的重要信息。追逃专班随即迅速行动,前往钟耀东的藏匿地点,顺利将其抓获。至此,外逃18年的钟耀东落网。
一案一策一专班 有逃必追一追到底
去年,三水区纪委监委成功劝返外逃近17年的广东健力宝集团原副总经理于善福回国投案,今年成功抓捕外逃18年的金融领域犯罪嫌疑人钟耀东归案。追逃追赃捷报频传的背后,是三水区纪委监委有逃必追、一追到底的坚定决心、鲜明态度和有力举措。
“每个案子都不容易,用好政治、经济、法律、政策和亲情这五张牌,往往能从山穷水尽转变成柳暗花明。”反贪老将曾军参与了于善福案件和钟耀东案件。他说,每个追逃案件都实行专人专班,每周一小报、每月一大报,及时汇报追逃情况,一旦发现线索迅速行动,形成高压态势。“对于其他在逃对象,我们很有信心把他们抓捕归案。”
2018年以来,三水区纪委监委切实提高政治站位,积极承担追逃追赃工作主办责任,不断加强组织领导和统筹协调,成立追逃工作领导小组,先后召开20多次专题会议,研究部署追逃工作,同时与区法院、检察院、公安分局、外侨事务局等单位紧密协作,实现信息、资源和力量共享,形成办案合力,推动重点个案攻坚,持续开展“天网行动”,一体推进追逃防逃追赃。
在追逃追赃具体实践中,区纪委监委领导靠前指挥,对在逃对象实行“一案一专班”“一案一对策”,针对每个外逃人员不同的思想、生活和工作情况,分别找准其关注点、消除其疑点、击打其痛点,因案施策,提升工作效能,天网越织越密,让潜逃者无处可逃。
三水区纪委监委相关负责人表示,不管腐败分子跑到天涯海角,也要把他们绳之以法。追逃追赃工作是一场攻坚战、持久战。区纪委监委将坚持追逃追赃不停步,坚定信心,抽派精干人员,持续优化方式方法,对外逃人员坚决一追到底,同时筑牢防逃堤坝,一体推进追逃防逃追赃。
微信
新浪微博
QQ空间
QQ好友
豆瓣
Facebook
Twitter
